HERRINGBONE MILKING PARLOUR
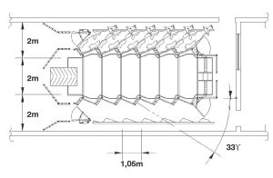
Classic milking parlour type characterized by the cow’s disposition with an angle of 33° in comparison to the milk hole outline.
Thanks to this grade we can benefit of an excellent view of the udder.
The solution with the zig-zag pit edge allows both an optimal animal positioning and a major comfort for the milker that can get closer to the udder during the cleaning process and cluster connection.
The structure, available in galvanized or stainless steel is characterized by the use of squared section tubulars. This solution allows us to build a very durable and resistant cage, proper both for cows and buffalos.
The removal cylinders of the cluster are housed in an appropriate inox cabinet (optional). Several optional and automations are available for our herringbone milking parlour to allow you to realize the one best suited to satisfy your requirements.
You can contact our technical/commercial service to evaluate together your project.
Technical Characteristics
- Squared section tubulars
- Stall interaxe 105 cm
- Suspended version available
- Available both in-line milking parlour and two-sides
- Fixed or flip-open rapid exit
- In galvanized iron or stainless steel
- Available with linear or zig-zag pit edge
- Available with upper cabinet for the housing of take off cylinder
- Available with traditional washing system (bowl) or forced washing system.
- Available with Backflush (washing clusters after each unload of animals milked)
- Available with milk separation (dedicated milk pipeline)
- Available with electronics milk meters and computerized management system
- Available with tunnel for the housing of components (recommended for big milking parlour )
